CN
当前位置: 智能制造  >  冲压/焊装/涂装/总装  > 斜楔模设计标准.pdf

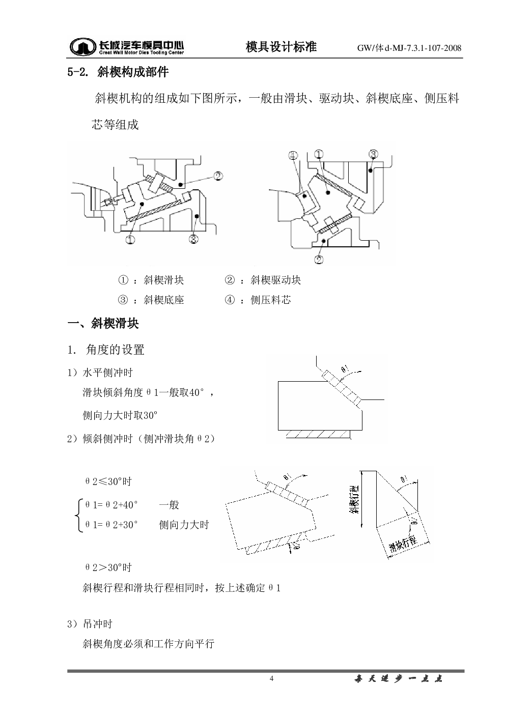
斜楔模设计标准.pdf

汽车设计  |   2023-02-24  
文档类型:冲压/焊装/涂装/总装   |   格式:pdf   |  总 57| 上传时间: 2023-02-24   |大小:2.49m | 下载量:0
举报
摘要:

试读已结束,如需下载到电脑,请使用下载币( 获取下载币

下载:15.00下载币 收藏
下载:暂无上传网盘
提取码:点击查看
最新上传
相关课程
全部
  • / 57
收藏
价格:15.00下载币
分享文档得下载币
点击复制链接(被分享文档2下载币以上)
手机扫码二维码分享得下载币奖励
充值
下载币
扫码加交流群
联系
客服

扫码加交流群

微信服务号

关于我们-网站声明-网站地图-资源地图-友情链接

GRCC 科技文库版权所有.

©Copyright 2007-2022.沪ICP备18036460号-7